PRODUCT RANGE:
INFRASTRUCTURE PRODUCTS
- Interlocking Joint Pipes (SANS 677)
- Spigot & Socket Joint Pipes (SANS 677)
- In-the wall Joint Jacking Pipes (SANS 677)
- Rectangular Portal Culverts
- Base Slabs
- Jacking Box Culverts
- Manholes (SANS 1294): Sewer Chambers (750-2000)
- Manholes (SANS 1294): Components (750-2000)
SPECIAL PRODUCTS
- Kerb
- Kerb Inlets
- Grid Inlets
- Median Drain Channel HD
- Median Drain Channel MD
- Median Drain Grids
- Trench Covers
- Cover Slabs
- Penstock Rings
- Concrete Shelters
- Road Barriers
- Wash Trough Small
- Wash Trough Large
- Pipe Plinths
- Carport Plinths
- Water Meter / Hydrant Box
- Pavers
- Various Markers
- Bollards
- Pipe Culvert Wing Walls
- Bus Shelter
- Dogbones
- Stock & Horse Trough
- Down Chutes
- Eskom T-Wall Panels
- Prasa Walls
Important Information
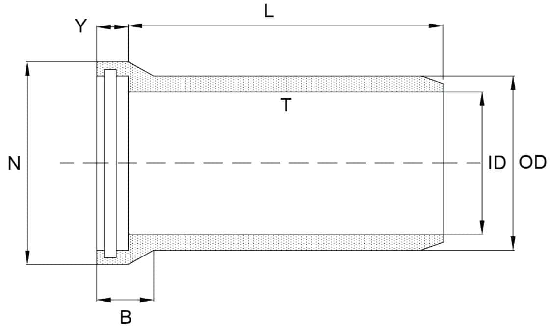
- Global Precast Spigot and Socket Pipes can only be used for storm water drainage and are sealed using a rolling and sliding rubber ring. This rolling and sliding rubber ring is installed using a soft soap lubricant.
- To ensure optimal performance, it is important not to exceed the allowable joint deflections provided below.
- Other pipe classes, including 75D, are available upon request.
- Nominal Diameters with Maximum deflection:
- 300 - 375 mm 2.0° 1050 - 1200 mm 0.75°
- 450 - 600 mm 1.5° 1350 - 1800 mm 0.5°
- 675 - 900 mm 1.0°
Please be advised: The mass per meter provided is an approximation only.
Global Precast cannot ensure the exact mass as listed in this table due to tolerances.